EZO 6000HTWZZ轴承

EZO 6000HTWZZ轴承
EZO 6000HTWZZ轴承是不锈钢轴承,产自日本,主要尺寸:10x26x8mm,型号含义 6:单列深沟球轴承,0:尺寸系列18,00:内径10mm,H:不锈钢材质,TW:尼龙冠形保持架,ZZ:两侧钢板防尘盖。
EZO 6000HTWZZ轴承主要尺寸
内径:10 mm
外径:26 mm
基本动负荷:3860 N
基本动负荷:1570 N
允许转速:36000 rpm
重量:19 g(大概重量)
EZO 6000HTWZZ轴承详细介绍
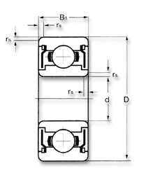
图纸:

| 轴承型号 | 6000HTWZZ |
|---|---|
| 品牌 | EZO轴承 |
| 类型 | 不锈钢轴承 |
| d | 10 mm |
| D | 26 mm |
| B1 | 8 mm |
| 倒角rs | 0.3 mm |
| 基本动负荷 | 3860 N |
| 基本静负荷 | 1570 N |
| 允许转速(脂润滑) | 31000 rpm |
| 允许转速(油润滑) | 36000 rpm |
| 球个数 | 7 |
| 重量 | 19 g |
型号解释
6000HTWZZ轴承是不锈钢深沟球轴承,EZO 6000HTWZZ轴承产地日本,产品价格请咨询航五瑞销售人员。
- 6:单列深沟球轴承
- 0:尺寸系列
- 00:内径10mm
- H:不锈钢材质
- TW:尼龙冠形保持架
- ZZ:两侧防尘盖
实拍照片
以下照片为航五瑞实拍EZO 6000HTWZZ轴承照片,方便客户了解产品细节。

6000HTWZZ轴承应用范围
印刷设备 注塑机 吹膜机 造粒机 塑料挤出机 混合设备 汽车起重机 混凝土搅拌机 起重机械配件 立式多级离心泵 活塞式真空泵
与6000HTWZZ轴承相关产品
类似产品:FAG 6044-M轴承 FAG 6048-M轴承 FAG 6052-M轴承 FAG 6056-M轴承 FAG 6060-M轴承 FAG 607-2Z轴承 等属同类产品。
为您推荐产品:RIF-814ZZ轴承 RF-1340ZZ轴承 RF-1030ZZ轴承 LF-1060ZZ轴承 LF-730ZZ轴承 LF-520ZZ轴承 LF-850ZZ轴承 LF-1150ZZ轴承 LF-740ZZ轴承 LF-625ZZ轴承 LF-1790ZZ轴承 LF-840ZZ轴承 RF-1560ZZ轴承 均有现货。
尺寸相关产品
NSK 6000ZZCM轴承,【内径10mm*外径26mm*宽度8
INA NA4900滚针轴承,尺寸规格10mm*22mm*13mm
FAG 6200-2Z轴承,尺寸内径10mm*外径30mm*宽度
FAG 61900-2Z轴承,尺寸内径10mm*外径22mm*宽度
FAG 61800-2Z轴承,【内径10mm*外径19mm*宽度5
NMB RF-2210X2HH轴承(F6900ZZ轴承)
关注EZO轴承6000HTWZZ,还看了...








